图知网
搜索
首页
热门推荐
图片分类
经公安机关初步检验,确认该枪支是一款单管猎枪,仍存在击发可能性,38
下载原图
相关图片
具有除杂功能的开松机
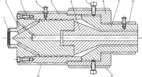
解决其管道高承压要求而特别设计的挤管机 头,具有结构简单,共用性强
单主轴走心机sz-25en3-20/25e单主轴数控走心机-深圳市硕方精密机械
panel, instrument *nh593l*,77103saag00zb
一种带机械燃油增压的电控单缸柴油机
原创1995年广西护林员救下华南虎2年后遭遇豹子袭击华南虎勇斗恶豹
为你推荐
浅析克拉管和hdpe钢带双壁波纹管的区别
女生剪中分短发,时尚又小颜
脚底长痣是富贵相还是癌症信号?揭秘长痣的真相
张晋演的《叶问3》人见人爱花见花开,真的man爆了
香谱——供财神上香图谱.doc
遥望那一轮明月
二胡常用调是7个还是8个
绘画:小蝌蚪变青蛙|烟台中小学生"才艺秀"作品征集