图知网
搜索
首页
热门推荐
图片分类
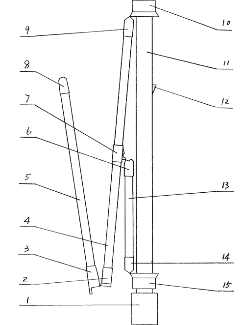
伞的构造
下载原图
相关图片
cn2076339u_手动及全自动开收的两用伞具失效
一种多折雨伞收伞扣合结构制造技术
电动伞的自动伸缩结构的制作方法
在手机上查看 专利详情
公开了一种加强型伞骨雨伞,包括撑杆,伞帽,主伞骨,副伞骨以及滑动结构
新型公开了一种雨伞缓冲器,包括接触板,所述接触板设置为喇叭形结构
为你推荐
实力诠释胖着好看的人瘦下来一样好看自然就变成了这样减掉120磅之后
少玩手机少熬夜高清原图查看
马丁斜杠青年
美女壁纸-第1916期-钟楚曦
38岁林依晨一大早恭送富豪公公上班穿修身牛仔裤配t招人疼
薛之谦《暧昧》mv上线2周年 在暧昧的时代寻一颗真心
《琥珀青龙》1982-atv——未完待续 - wyhk09_8 - wyhk09_8的博客
简约国潮花边祥中国风底纹古风边框免扣元素