图知网
搜索
首页
热门推荐
图片分类
电视剧《青云志2》人物剧照高清图片电脑桌面壁纸下载
下载原图
相关图片
李易峰《青云志2》高清帅气剧照图片桌面壁纸
电视剧《青云志2》人物剧照高清图片电脑桌面壁纸下载
青云志2曝情思版剧照
青云志2人物精美剧照_李易峰化身鬼厉再次归来
青云志2会员独享# 距离#青云志2# 12.8开播. 来自腾讯电视剧 - 微博
电视剧《青云志2》人物剧照高清图片电脑桌面壁纸下载
为你推荐
母亲节礼物!这几款手工贺卡简单好看,自己动手妈妈更喜欢
重磅发布南阳师范学院2022年本专科招生计划一览表
简直不敢相信自己的双眼
蔻驰钱包
1个小孔就能治疗腰椎间盘突出症
理性蒸发a想要吐槽一句天王寺之战确实是毛利胜永表现的比真田幸村更
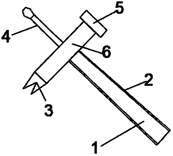
一种多用途锤子的制作方法
黄鹤楼(1916中支)价格参数及图片,黄鹤楼中支1916香烟,中支黄鹤楼1916