图知网
搜索
首页
热门推荐
图片分类
索尼sony xba-300ap 三单元动铁入耳式耳机测评报告
下载原图
相关图片
格莱梅x16重低音耳机入耳式耳机面条线带麦线控通话耳机金属耳机
小米5入耳式耳机红米note4x 5a max2手机通用挂耳式线控带麦6mix_7折
潜龙浮水一鸣惊人维迪声e3四核双动圈入耳式耳机体验报告
艾巴索 ibasso it01s 入耳式耳机-官方结构图
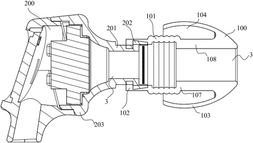
耳机防水结构和耳机的制作方法
cn205545820u_一种具有高用户体验度的入耳式耳机有效
为你推荐
南京博物院
时代少年团
超清创意字母头像图片
原创赵继伟婚礼最新消息伴郎团再增3人2好友惊叹郭艾伦马不停蹄
生产厂家直销 碾米机 农村加工厂专用 新型碾米机 粮食加工设备
血肉狂魔
松北水库
这就是三岛由纪夫.