图知网
搜索
首页
热门推荐
图片分类
口袋联盟全新版本上线神的宿命之争
下载原图
相关图片
【口袋联盟】游戏世界观背景介绍
口袋联盟
《口袋联盟》游戏截图(1/29)
《口袋联盟》入门须知faq
口袋联盟
口袋联盟
为你推荐
广州大学城图片_广州大学城高清图片_全景视觉
国家级工艺美术大师黄文寿延续丹桂传奇
京剧《贵妃醉酒》矢量插画插图戏曲霸王别姬国风国潮
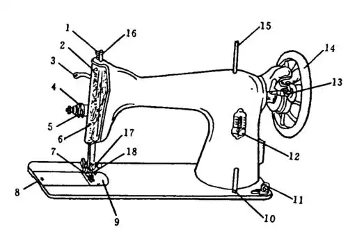
13缝纫机机头的拆装
胰腺癌诊治病例分享
件套古董传世明清老家具_木桌/几/案_收藏行情_回收价格_7788邮票收藏
明朝四款皇后服饰,总有一款你喜欢
萌学园第一季《萌骑士传奇》