图知网
搜索
首页
热门推荐
图片分类
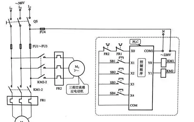
变频器配合plc控制电动机电路的识读方法
下载原图
相关图片
ym3150e型滚齿机的控制系统的plc改造【含cad高清图纸和说明书】【jc
plc控制原理图a1pdf
电加热热水锅炉plc5-180电气原理图
玻璃钢成型机设计——plc电路控制系统【说明书 cad】
武汉喷泉公司-恒利达-plc基本功(续):喷泉和交通等的plc控制实例详解
两台电动机顺序启/停的plc控制电路
为你推荐
博人传:大筒木重生夺魂计划,川木成为容器,净眼让博人躲过一劫
pony鞋子创意拍摄
创造营2019最后一次全员到齐你的pick留下了吗
光影夏荷唯美篇
创意高档皮质纸巾盒 欧式抽纸盒餐巾盒 纸巾抽商用广告抽纸盒
狂赌之渊桃喰莉莉香副会长
monsterx赛博朋克风格未来汽车设计
新安怡手动吸乳器(基本系列)