图知网
搜索
首页
热门推荐
图片分类
清脆悦耳的风铃1920x1280分辨率查看
下载原图
相关图片
厂家透明玻璃风铃景区场景布置学生diy涂鸦工艺品小清新挂饰
风铃,绿枫叶图片下载
玻璃风铃许愿卧室挂饰夏日和风铃樱花透明悬挂式室外户外庭院跨境
在这片"金灿灿"的春天共赴好时光_风铃_防疫_黄花风
风铃
遥远的记忆
为你推荐
2017讽刺自以为是的说说短语
世界杯c罗帅气的发型(从精神小伙到时尚达人!
有一个超可爱女朋友的体验2020好看可爱qq女生头像个性头像女生唯美
70,80后童年的记忆
继承者们,车恩尚,朴信惠继承者们壁纸图片
动漫可爱女生头像
有一种"对比"叫ninepercent成员应援色,看到朱正廷:想去现场
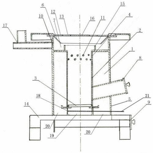
一种二次进风高效节能炉制造技术