图知网
搜索
首页
热门推荐
图片分类
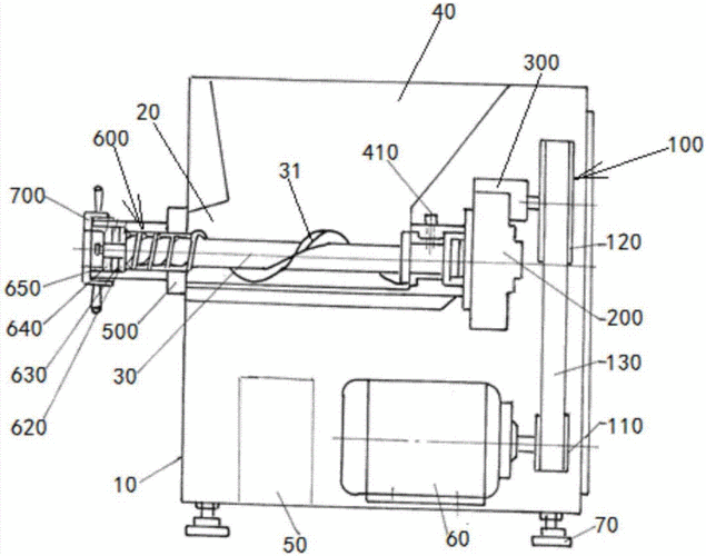
一种多功能绞肉机的制作方法
下载原图
相关图片
家用全不锈钢10#手动绞肉机 手摇碎肉绞菜馅机 灌香肠机小型搅肉
绞肉机(g79)
绞肉机家用电动多功能搅拌绞馅辣椒小型碎打肉机不锈钢肉沫机
一种双速绞肉机的制作方法
一种绞肉机制造技术
一种绞肉机
为你推荐
升级稳固手机直播落地式三脚架拍摄视频多功能拍照自拍杆懒人支撑架抖
泰安玉簪_哪里有提供品质高的玉簪
收藏颈部详细解剖
石阡的仡佬毛龙节是以仡佬族民间"龙神"信仰为主的一种信仰民俗活动
昨天,中国女排队员高意在社交媒体上发文:换牌成功(从铜牌到银牌)是
各国货币上的风景名胜(组图)_中国发展门户网-国家发展门户
我是余欢水郭京飞崩溃大哭中年危机的他凭这点把一手烂牌打成了王炸
在野外的星空下,邀请3,5好友,一堆篝火,共享人生极致生活.