图知网
搜索
首页
热门推荐
图片分类
老子要炸了你!表情包_老子要炸了你!表情包下载_老子要炸了你!
下载原图
相关图片
我被炸黑了表情包再炸人都没了表情包微信被炸表情包
我被炸黑了表情包再炸人都没了表情包微信被炸表情包把我脸都炸黑了
表情包炸弹自定义状态微信新功能太骚了内附体验方法
抖音表情包微信被炸表情包
《抖音》我被你炸倒了快赔钱表情包分享gif动图
心情不美丽表情包 - 心情不美丽微信表情包 - 心情不美丽qq表情包
为你推荐
三生三世十里桃花祝绪丹 饰 玄女
爱的迫降成功玄彬孙艺珍结婚啦78
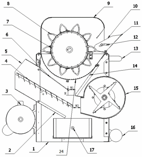
一种水稻种子脱粒机的制作方法
闪耀暖暖 印象卡
克莱德曼 初学者c调简易版 钢琴双手简谱 钢琴简谱 钢琴谱
深圳南山华润城润玺2期售楼处电话400-100-1299转接1111【官网】24
周日早安祝福图片精选,早安祝福语问候|快乐|甜蜜|清晨|幸福|早上好
叶罗丽:命运之书系列,亮彩命运之谜!