图知网
搜索
首页
热门推荐
图片分类
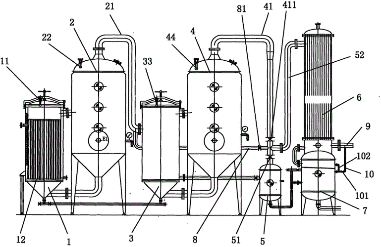
一种双效浓缩器的制作方法
下载原图
相关图片
热泵外加热式双效浓缩器
强制循环式热泵双效浓缩器
热泵外加热式双效浓缩器
一种制药用双效浓缩器-爱企查
cn211885429u_一种易清洗的双效浓缩器
双效浓缩器
为你推荐
三生有幸-王俊凯应援曲
横屏壁纸好看又治愈动漫壁纸
好看的男生证件照模板来啦,清爽干净谁不爱
新闻之外的真实美国:90年代美国流浪艺人生活_高清图集_新浪网
一沓带格的a5纸 付邮免费送
很全面,这是好事儿,对于一些想要买房,租房的朋友,在选择房子的过程中
全部学会,你不会再为肥胖发愁: 第一招:平时多
日番谷 冬狮郎 千年血战篇 gk 手办公仔摆件模型雕像人偶玩偶人物