图知网
搜索
首页
热门推荐
图片分类
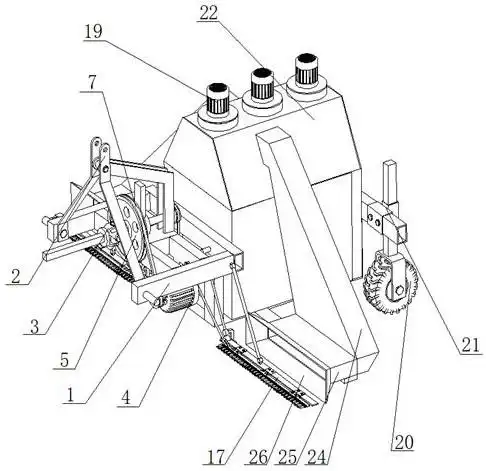
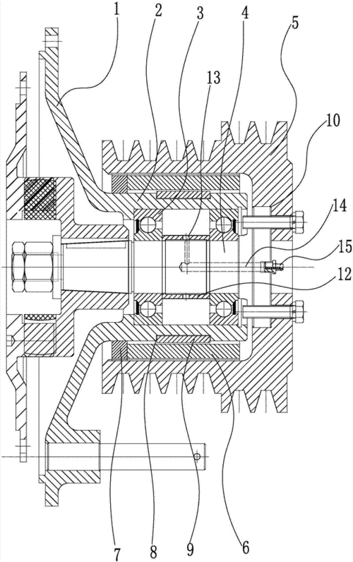
一种联合收割机动力系统
下载原图
相关图片
玉米收割机动力输出结构的制作方法
食品种植采摘机械 收获机械 收获机 新型桑树收割打捆一体机配套动力
x一种小型玉米收割机双动力传动装置-爱企查
一种基于拖拉机的简易薄荷收割机制造技术
一种柠条平茬收割机
一种收割机及其喂入脱粒系统-爱企查
为你推荐
🎨小女孩黑白素描头像精选
用卡纸做一只可爱的小蜜蜂知识创作人 看见手艺 亲子手工 手工diy
天然花岗岩大理石英国棕室内外墙面地面干挂石材楼梯踏步台阶大理石
卡通铠甲小兵
学习拼音:a
身上这3个地方长斑,暗示你肝病来了,早发现早治疗,别不在乎!
安心找工作网5830安卓版
谁对我讲下qq炫舞心型具体摆法