图知网
搜索
首页
热门推荐
图片分类
永磁同步电机的综合效益
下载原图
相关图片
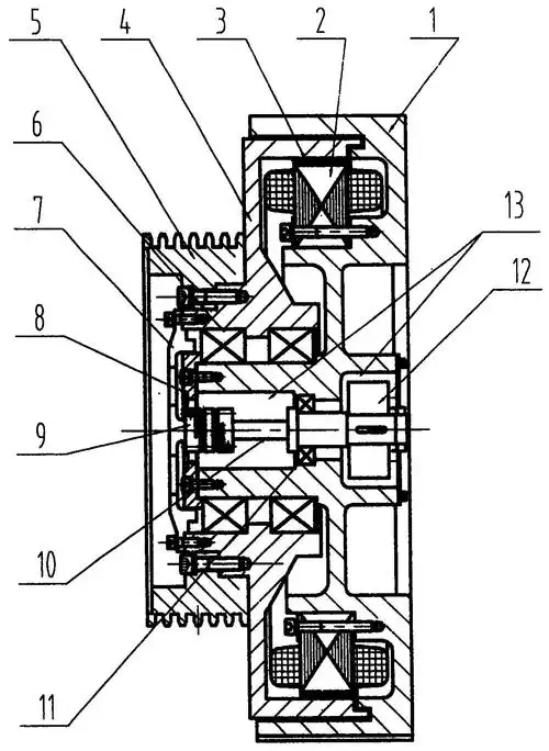
所有分类 工程科技 机械/仪表 永磁同步无齿轮曳引机培训ppt 主机结构
薄型永磁同步无齿轮曳引机-爱企查
小型永磁同步无齿轮曳引机
永磁同步电机原理特点以及应用
永磁同步曳引机(jtyb-7b)
ytw20永磁同步无齿轮曳引机 - 常熟市佳能电梯配件有限公司
为你推荐
苹果手机用非原装充电器有影响吗
手绘卡通包青天元素
亳州cdmd05t32t型电动葫芦
追捕 - 主题曲 杜丘之歌吉他谱
保护环境手抄报内容文字40字(手抄报图片大全) -【爱个性】
你要的cad男朋友
李宁(天虹商场店)
大理古城简笔画