图知网
搜索
首页
热门推荐
图片分类
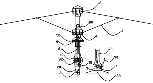
开伞机构,包括上行弹性件,开伞顶块,开合键座机构和上行弹性件顶座,所
下载原图
相关图片
cn102068095a_一种具安全防护功能的自动开合伞有效
一种自动开合伞
cn201846969u_一种自动开合伞伞头按钮部份的改良结构有效
一种扳动扳手自动开合的伞的制作方法
cn2822302y_一种全自动雨伞失效
cn2107166u_气-电控制的自动晴雨伞模拟开伞机失效
为你推荐
压抑的感觉.
最近娱乐圈喜事连连,除了魏晨和郑恺宣布结婚外,主持人沈涛也和妻子
河南禹州飞雪迎春到红梅展笑颜
【龙头绘】 顺德大良新滘天后宫#顺德龙舟文化 #顺德龙舟 # - 抖音
怀旧可开机长城牌14寸黑白电视机
外出正在营业个性店铺挂牌定制留言时间门牌装饰挂牌
九宫|八卦|九星|水克火|金木水火土_网易订阅
马嘉祺 刘耀文 宋亚轩头像