图知网
搜索
首页
热门推荐
图片分类
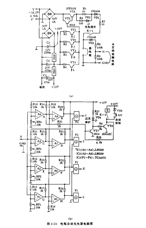
精确的12v电瓶自动充电机电路
下载原图
相关图片
12v汽车电瓶充电器电路图
汽车12v电瓶充电器电路图
12v蓄电池自动充电电路
菜鸟求简易实用的12v汽车电瓶充电器原理图
精确的12v电瓶自动充电机电路
12v充电器原理图top7有你了解的没
为你推荐
童年的梦,刘亦菲小龙女绝美落泪,你心动吗
谁都想由着性子去生活,可现实不允许,当无奈填满了整个青春,就 - 抖音
爆笑gif图说吧昨晚你干嘛去了
简笔画教程—可爱的小苍鼠 哇,萌萌的小仓鼠来啦,快来跟着画吧!
4d影院设备哪家好,4d影院公司_全影汇
开始研究msi对手?tl视频现ig战队分析-7k7k电竞
还看到她以前被记者采访的视频,这牙上的黑三角大概是牙齿矫正留下的!
今日好书法(21)丨毛笔楷书自作诗《护苗》