图知网
搜索
首页
热门推荐
图片分类
云南离缅甸多远云南省在中国的哪边
下载原图
相关图片
临近中国的缅甸,其北部地域,毗邻我国的云南省,这片人们通常称之为&
我们先看一下缅甸的地图根据我科普的惯例,还是先从历史讲起.
缅甸与云南"山水相依",边界线有多长?有哪些一模一样的民族?
缅甸与云南接壤处发生5.6级地震 震源深度63公里(图)
缅甸军机空袭中国边民的事件,曝光率在短时间缅甸与中国云南地理位置
东南亚国家缅甸曾经富甲一方为何现在越来越穷
为你推荐
唯美可爱女生头像
秀丽五官江南女孩何彦霓
霸气男生超拽头像帅气时尚潮男意境图片
午夜的新娘二次元血族少女美图选集
朱时茂八十年代军装照帅到极致,和唐国强是同乡,跟张铁林是同学
可爱的,贺卡,复活节,鸡蛋,卡通
宗喀巴
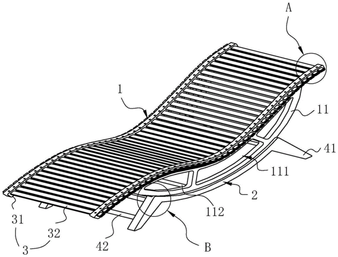
一种姿态可调节躺椅的制作方法