图知网
搜索
首页
热门推荐
图片分类
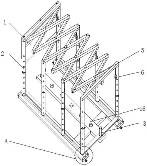
伸缩杆装置的制作方法
下载原图
相关图片
一种可伸缩的建筑钢结构
推拉伸缩结构
一种可折展伸缩机构
一种臂架伸缩机构的制作方法
一种可伸缩的书架的制作方法
所述伸缩横梁的外端与所述公海铁联运装卸装置的其一框架结构连接,所
为你推荐
易烊千玺/手写/自制/壁纸
原来这四对韩国明星是夫妻,男神找到归宿,最后一对太恩爱了!
假面骑士空我的"点赞",代表着能做到一切事情的"勇气"
体育 阿迪达斯 足球俱乐部 卡卡 米兰 里卡多·卡卡 4k壁纸壁纸(明星
可爱宝宝和超萌宠物唯美写真桌面壁纸第二辑
每天认识一味药--茵陈 7515功效与作用 茵陈是一种中药材,药性苦
鬼灭之刃q版小插画头像
温柔晚风 61 氛围感男生头像7815