图知网
搜索
首页
热门推荐
图片分类
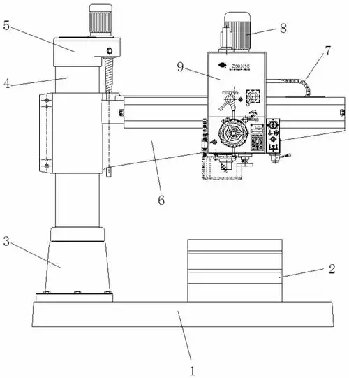
一种数控机床的主轴箱总成
下载原图
相关图片
80年产中捷摇臂钻床 现在还可以用 主轴箱体拆开 里面结构挺复杂
z32k摇臂钻床主轴部分装配图
牧野加工中心电主轴拆装维修实例
采用变频调速器的钻床主轴箱结构
cn209491359u_一种可精控钻深的变频无级调速摇臂钻床有效
xh754卧式加工中心主轴箱结构
为你推荐
男士发型有多帅,看看这14款,大多数男士都适合(男生自来卷发型设计
悲伤女头动漫流泪 高清好看的丧动漫女头流泪图片_女生头像_美头网
涅盘之子
run-d.m.c.是美国东海岸嘻哈的代表,也可以说是 嘻哈界中的"披头 "..
奇异土家族 偷越多越好
宝马120小钢炮
关节的主要种类以及运动方向本文相关素材来源:《3d人体解剖图》,如
[拳皇15]这大概是这代最没存在感的角色吧?