图知网
搜索
首页
热门推荐
图片分类
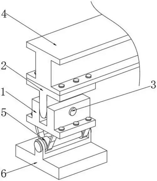
新型博物馆文物固定支座的制作方法
下载原图
相关图片
cn110301993a_一种简易型多用途大鼠股骨外固定支架在审
厂家批发双面挡板式固定支座97r412标椎
一种用于柱构件的固定底座制造技术
一种用于飞机装配型架的可调角度支座
图纸来了:三腿支座 - 抖音
支座结构,所述转动装置包括转动杆,所述转动杆的表面对称固定套接有
为你推荐
适合40岁左右的男性微信图标_微信头像图片大全
倪妮身材曲线好绝
爱情甜蜜幸福的短句,我的世界因你而变得完整,因你而充满了意义
张敏:被大佬向华胜独宠七年,为何投入汪雨的怀抱_香港_向太_向华强
蓝色白色高端大气简约纹理商务个人名片
男人,天使,翅膀
原创第五人格红蝶紫皮罗生门质量堪比金皮建模师果然是蝶吹
黑胡桃木实木烟灰缸家用客厅防飞灰香烟缸轻奢复古带盖办公室礼品