图知网
搜索
首页
热门推荐
图片分类
分享室外散水图资料下载
下载原图
相关图片
水泥砂浆散水建筑设计施工图
散水厚度怎么看
散水计算规则
这个散水的标高是多少呢
求个12j003散水明沟的做法
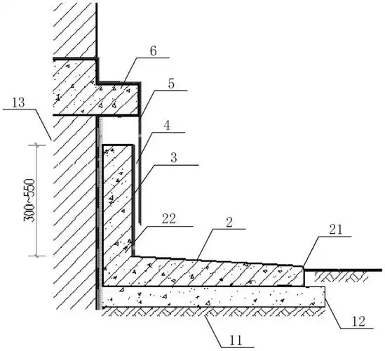
一种新型自调式散水结构及施工方法
为你推荐
卡通老鼠头饰简笔画
预告一波和男明星的合影,俺成家啦!069906990699# - 抖音
溜溜球篮球乐高样样不落,真是全能爱豆啊,年纪轻轻未来可期王一博古装
底部修边旋纹麻仓土修边为元代工艺特征.
2021年日历表a4纸打印版
日常吃蔬菜的4个要点
爆碎华为mate30pro更换外屏
冬日暖阳颐和路