图知网
搜索
首页
热门推荐
图片分类
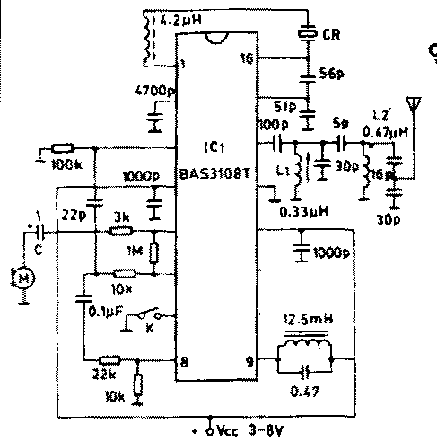
一天一个电路分析-第三十四弹 调频无线话筒
下载原图
相关图片
macsotmr700型无线话筒电路
调频立体声无线话筒电路
无线简易话筒电路设计原理
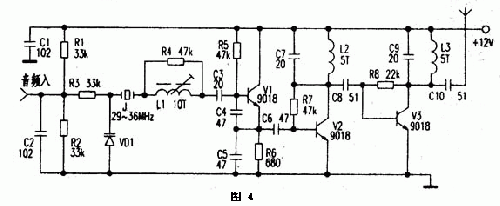
9018无线话筒电路图四款无线话筒电路图全文
无线话筒电路
无线话筒的电路图
为你推荐
关科长威武霸气 @杨幂#哈尔滨一九四四##杨幂关雪
蒋依依中戏毕业照曝光,站c位被长发美女艳压,照片看出谁是团宠
卡莲|ヒサマキarjan的崩坏3pixiv插画图片
"吴中第一胜景"苏州历史文化地标"虎丘"02
随着科技的快速发展,金融市场也面临着巨大的变革.
加索尔nba已经失去比赛的美丽我的生涯很快结束
简约不锈钢别墅大门农村不锈钢门庭院门围墙门双开门电动推拉大门
samick三益电鼓电子架子鼓kd-30 kd-70便携爵士鼓套装练习初学者