图知网
搜索
首页
热门推荐
图片分类
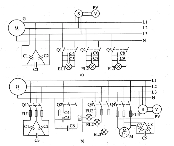
启动机,发电机及点火开关接线法接线图如下
下载原图
相关图片
柴油发电机组外部接线,接地,电瓶接线图解大全
发电机接线图.jpg
jf1114v交流发电机接线图
怎样把电动机改装成发电机呢?有电路图吗?
画汽车发电机和整流器的电路连接图,简单说明如何将交流电变成直流电?
220v3千w两相交流发电机震流桥接线图
为你推荐
谨言慎行 戒急用忍什么意思
肖战这组时尚芭莎太魅惑了网友夷陵老祖魏无羡附体
手机激动图片
华晨宇绘画
最酷男生动漫头像
皮卡丘图片霸气(皮卡丘化身其他动漫人物) - 赤虎壹号
《活色生香》1,2集:安家(唐嫣)与宁家(李易峰)结仇,电视剧全集剧情介
《女生日记》(2004)