图知网
搜索
首页
热门推荐
图片分类
静物摄影72羊毛面料72公交车海报拍摄
下载原图
相关图片
精仿羊毛是啥面料
真丝羊毛是什么面料
缪可新品高级双面羊毛绉纱面料六色海绵垫
纯然气质法兰绒羊毛面料米色粗纺毛呢春秋大衣海绵垫
【毛纺布工厂现货】混粉色80毛锦保暖加厚人字纹羊毛面料支持快返
精仿羊毛是啥面料
为你推荐
2021年绝美中长发烫全头
护眼的小清新背景,高清图片,电脑桌面-壁纸族
郭富城
鞠婧祎 #动画头像 #女生头像
简约纯黑背景图标高清壁纸
多功能取钩器 日式脱钩器 打结绑钓取钩三合一钓鱼工具 垂钓用品
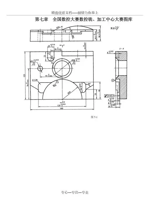
数控铣加工中心图纸
罗云熙自称全家最丑,本以为开玩笑,可看到全家福后,我信了