图知网
搜索
首页
热门推荐
图片分类
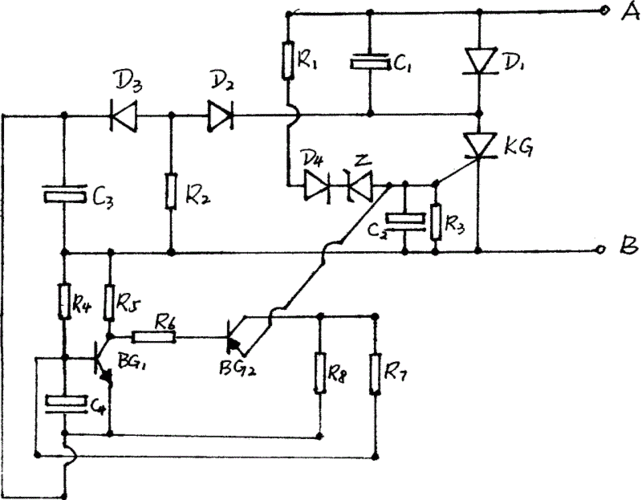
日光灯电子启辉器电路集锦
下载原图
相关图片
日光灯电子启辉器电路原理图
cn2236203y_全电子无触点低压快速启辉器失效
光控启辉器电路
本实用新型是一种日光灯启辉器,属于照明电路设计技术领域.
荧光灯电子启辉器的工作原理
日光灯电子启辉器制作
为你推荐
大秦之君临天下兑换码领取5个cdk礼包码
98k能否打穿现代防弹头盔?
有种相似度高叫王一博继承母亲的美貌二人笑容都一个样
我才十四岁,,,脸上又有斑又有疤还有痘痘摸起来感觉坑坑挖挖的,,,有
电脑壁纸 ipad壁 #ipad壁纸超清ins可爱 #美图壁 - 抖音
抖音个性霸气句子.docx 7页
中印边境自卫反击战(之一)
心脾两虚引起的夏季失眠多用归脾丸