图知网
搜索
首页
热门推荐
图片分类
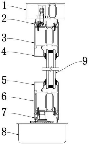
一种安全型的铝型材地弹簧门的制作方法
下载原图
相关图片
dt46隔热地弹门系列|龙图节能铝材(宣城)有限公司
的建筑隔热地弹门的连接采用拉筋式连接,从而采用断桥铝合金型材结构
地弹门节点图
a系列地弹门结构图
grd65地弹门系列-门系列-湖北恒延铝业有限公司
cn211900071u_一种拼接结构的地弹簧门
为你推荐
明道代言帅气杂志封面写真图片36
老炮儿:吴亦凡这是什么神仙颜值!下车的那一刻,简直帅惨了!
喝水环境创设#幼儿园主题墙 #幼儿园环创 #幼儿园喝水环创 #小鸭子
无人生还第一季andthentherewerenone迅雷下载
欧美时尚立体砖墙装饰背景墙
女朋友第一天学舞蹈,被老师强制开胯,疼得快不行了!
西葡印象(二)葡萄牙童话小镇辛特拉
文房四宝 文房四宝毛笔砚台毛毡套装初学儿童小学生初学者书法用品