图知网
搜索
首页
热门推荐
图片分类
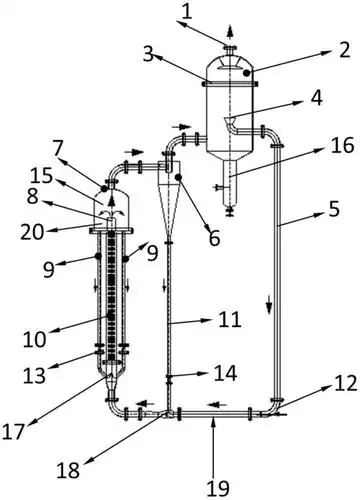
厂家旋转蒸发仪实验室减压蒸馏提纯高效大型升降蒸发器10-50l含税
下载原图
相关图片
如图是提取玫瑰精油的水蒸气蒸馏装置图和提取胡萝卜素的装置图,分析
(2012·北京理综,8)下列试验中,所选装置不合理的是
1 《过滤和蒸发》第2课时 课件 新人教版必修1ppt
cn212941539u_一种防结垢蒸发结晶装置
适用于具有片状晶习物质的蒸发结晶系统
蒸发是将溶液浓缩10溶剂气化或溶质以晶体析出的方法17结晶是溶质
为你推荐
钟楚曦:荧屏新星,性感尤物撩人心弦|娱乐圈|冯小刚|性感女神_网易订阅
你是我的荣耀杀青杨洋与迪丽热巴同框出镜身高却成了焦点
尼克狐海报疯狂动物城nickwilde挂画zootopia卡通萌免打孔装饰画
巨赞法师上马学佛下马杀敌,抗日时期的神僧,登上开国大典的城楼
导语:《父母爱情》里刘天池饰演的王秀娥,《金婚》里李菁菁饰演的庄嫂
上海儿童牙齿不齐做正畸治疗是否有必要凌姿医生告诉你答案
大眼跳蛛.#昆虫世界 #跳蛛#大眼 #奇妙的动物 #视觉冲击 - 抖音
缅甸到底有多可怕?尔康去了缅甸回不来,何况是我们