图知网
搜索
首页
热门推荐
图片分类
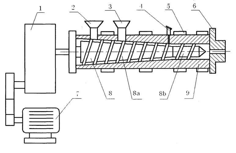
单螺杆挤出机11111
下载原图
相关图片
单螺杆挤出机结构及主要零部件
塑料机械知识—-单螺杆挤出机的结构
螺杆挤出机基本结构
cn100408307c_超高压单螺杆挤出机有效
具有平行螺杆头段的锥形单螺杆挤出机
一种新型螺杆挤出机的制作方法
为你推荐
em>天润 /em> em>康 /em> r
二次元美少女#手机壁纸 #二次元 #动漫 #抖音图文 - 抖音
适合天气冷发的朋友圈带图片幽默搞笑天气太冷发的搞笑朋友圈图
康熙时期威风八面的贝勒爷,到清后期为何烂大街
肌肉艺术大师凯格林,他女朋友也如同猛兽般的存在
"中戏两百年美女"曾黎:颜值惊艳一个时代,46岁还没人敢追!
k太太又更新了,团宠柯南 twi:k_gear_labo
crown皇冠xls1002150220022502专业级数数字功放功放