图知网
搜索
首页
热门推荐
图片分类
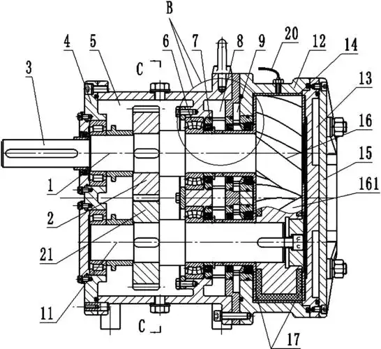
在下面转子泵的装配图中左视图中采用了局部剖视图主要是为了表达
下载原图
相关图片
转子泵装配图
lwg-150双头螺杆型干式无油真空泵的设计含开题及6张cad图_装配图网
cn201363270y_叶片式转子泵失效
新型转子泵
转子部件a2
cad转子油泵装配图
为你推荐
《司藤》开播特效好,景甜民国造型美爆了!
图文详情
9595手作时光 苏姑娘拼布壁饰.日
工作单位证明书
思维导图-3 family
河南博物院
作为一名军旅演员,现在已69岁的赵福余在演艺生涯中,塑造了几十个军人
每日一画简笔画浦原喜助附过程