图知网
搜索
首页
热门推荐
图片分类
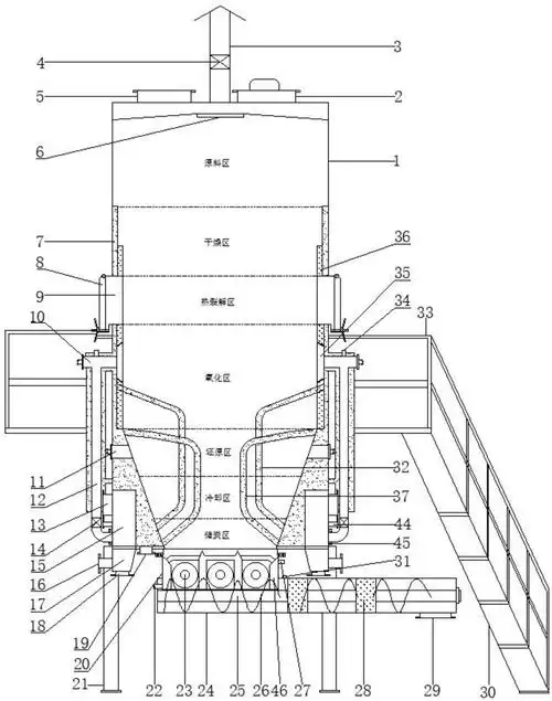
下吸式气化炉设计模型图纸01200706
下载原图
相关图片
一种高温旋转床生物质全气化炉
气化炉装配图下载__机械图纸 - 机械5
cn212246918u_一种生物质热裂解水冷炭气联产气化炉有效
cn100449209c_内燃加热式生物质气化炉有效
内燃加热式生物质气化炉设计
气化炉简图cad图纸
为你推荐
蓝色治愈系头像,一眼惊艳!
申惠善,金正贤参与了新剧《哲仁王后》剧本朗读会|演员_网易订阅
恶魔折纸教程步骤图,比较复杂,要仔细的学习
生态文明手抄报
12345的数字简笔画敢不敢秀出你的创意12345简笔画幼儿园12345只青蛙
国机风采
年轮简谱视唱第1页
周深逆袭史,用三首封神之曲逆风翻盘,那英不要他仍意难平