图知网
搜索
首页
热门推荐
图片分类
冲压模具图解
下载原图
相关图片
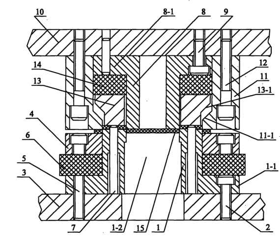
一种蜂窝管挤压模具
cn101698214b_定珠圈冲径模有效
冲模结构设计方法,要点及实例 第2版最新章节_张正修著_掌阅小说网
请教不锈钢圆管冲孔模具
一种钢板冲孔模具的制作方法
1 2一下模座 9一压弯凸模 1 6一滑动凹模 1 7~凹模滑套 3模具工作过程
为你推荐
纯情女初中生专用头像
京圈名媛朱珠摆地摊上热搜:她每一步都踩准"白富美"天花板,除了嫁人和
白菜根
jbl单双15户外大型舞台演出婚庆大功率音箱ktv酒吧音响套装 立式线阵
东风本田艾力绅锐·混动#周末简阳三岔湖景区游记
中国古代服饰线描画谱转
尊享未来奢华——劳斯莱斯愿景newx 100概念车
动漫头像基友情头闺蜜情头张张精选好看