图知网
搜索
首页
热门推荐
图片分类
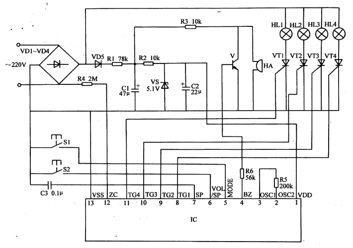
led节日宇灯控制器
下载原图
相关图片
led灯箱控制器原理图
cn113133151a_一种具有摄像头的led灯具照明系统电路
彩灯控制器电路图大全
led日光灯管电路原理图(串联型)
一种工业相机led背光灯电源控制器的制作方法
cn102196639a_太阳能led灯智能控制电路失效
为你推荐
谢娜代言金领冠,后疫情时代为爱发声
涂黎曼曝时尚写真 温婉迷人展魅力[20p]
金鱼白描线稿黑白绘画参考
中国风喜庆红金色边框蘑菇花海报边框透明png
新校徽发布——浦江蓓蕾 外语恒星 继往开来 砥砺远征 全新启航
铝合金屏风定制方管焊接铝屏风格栅
郑州国际赛车场卡丁车体验中心
《台州超级新声代冠军》——陈果