图知网
搜索
首页
热门推荐
图片分类
卡玫珑皮带男真皮自动扣青年中年轻人休闲潮流男士牛皮捷豹裤腰带_不
下载原图
相关图片
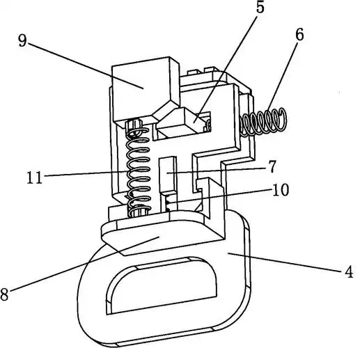
一种安全带装置的带扣
一种皮带扣-爱企查
304不锈钢滚轴扣皮带扣头3.5男无牙无孔自动扣裤腰带扣头3.8滚珠
一种发光皮带扣-爱企查
一种眼镜蛇插扣制造技术
一种用于儿童安全带的安全卡扣的制作方法
为你推荐
任嘉伦老婆聂欢个人资料任嘉伦晒宝宝儿子正面照片几岁了
这一次,"三金影后"周冬雨的"体面",算是被王迅彻底戳穿了
是什么让他们婚后相爱60年?运营婚姻其实很简单
女生头像 | 职业头像
经验二十年教你做家庭版香酥油条
"齐肩短发",御姐风呀._中国_发型_形象
旅游景点速写河南少林寺图片
小女孩在游泳池里游泳.