图知网
搜索
首页
热门推荐
图片分类
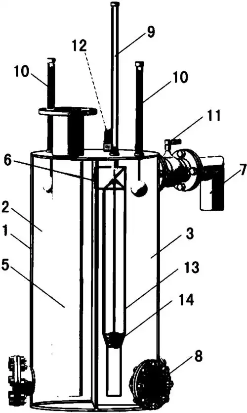
一种可以防止煤气泄露的水封式煤气脱水器的制作方法
下载原图
相关图片
水封结构图
酸性水储罐水封罐堵塞原因
一种直流钛渣电炉煤气柜进口降温式u型水封
sfnzf全自动煤气水封逆止阀厂家
cn207999387u_一种煤气除尘风机的水密封结构有效
一种可以防止煤气泄露的水封式煤气脱水器
为你推荐
五位战士诱敌上山,英勇杀敌,最后英勇跳崖的故事,表现了五壮士热爱
祁安辞德鲁纳酒店张满月仙气iu头像自截
美好记忆中国电影女演员之306林凤娇
杨幂##杨幂雅诗兰黛亚太区代言人#阿里大数据显示,女明星口红植草
【重头戏/赌场篇】【上海滩赌圣】今晚打老虎大战法国赌神
黑五必买数码专场appleipad6代32gbwifi玫瑰金
小日子颖儿曾是苦情女主今逆袭成爽文女主
初秋穿搭丨男生秋季卫衣搭配分享