图知网
搜索
首页
热门推荐
图片分类
基础知识:电梯门系统分类
下载原图
相关图片
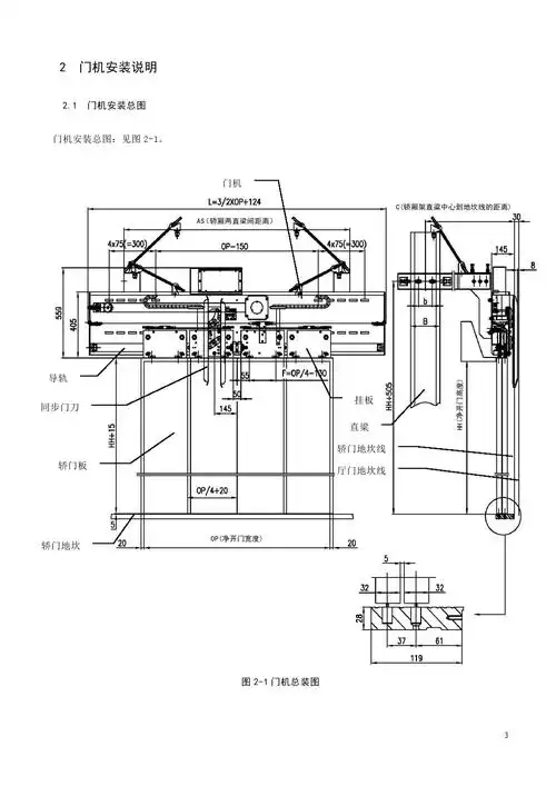
对于不同厂家的电梯,变频门机机械系统的具体设计也会有所不同,但结构
电梯层门和轿门装置在平均关门速度下的动能计算
电梯门系列介绍及施工工艺-主体结构-筑龙建筑施工论坛
升降机门结构
西奥easy-con中分双折门机说明书 - 电梯114
s120驱动永磁同步电机在电梯中的应用
为你推荐
电脑壁纸2022最新壁纸|电脑壁纸图片女生 - 知乎
抖音完结沈湘傅少钦小说 《沈湘傅少钦》沈湘傅少钦短篇完结小说全文
戏水的小女孩……摄影师……孤影……制作……美玉……出镜……香蕉
推崇素食尽显年轻态 吕颂贤雅痞写真尽显绅士韵味
黑白来看守所gif我有一个大胆的想法gif贱兮兮gif大胆的想法gif
甲贺忍蛙永远的神 小智版甲贺忍蛙永远的神 甲贺忍蛙永远的神
桂林阳朔,世外桃园,古东瀑布,桂林
star-appliqué block-heel leather boot