图知网
搜索
首页
热门推荐
图片分类
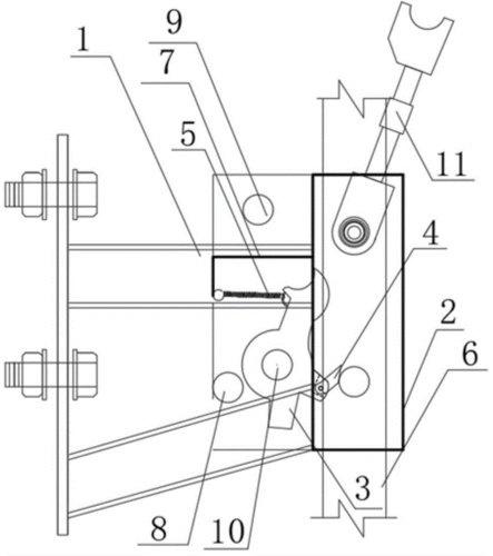
自动防坠器结构原理安全防坠器资料
下载原图
相关图片
施工电梯--防坠安全器结构
一种具有双锁结构的垂钩式防坠器
钢丝绳 速差式防坠器基本结构示意图
速差式防坠器典型结构和主要零部件示意图
一种附着升降脚手架防坠器
cn103879855a_防坠安全器失效
为你推荐
另一半情头查找器
生日快乐图片
男生头像帅气真人
好看的唯美女生背影图片
治愈系插画12100郁金香蝴蝶结兔子头像壁纸
兰博基尼lp580橙色跑车4k壁纸
gif动态图第166期午夜的女人
雪花秀与润修护睡眠面膜120ml 补水保湿 免洗滋养 平衡养肤