图知网
搜索
首页
热门推荐
图片分类
订做bxd壁式旋臂起重机 旋臂吊 2t 保证品质 优惠销售
下载原图
相关图片
供应2021新款手动旋臂吊 定制可360度旋转悬臂吊起重机
悬臂吊,包括底座固定在泥浆罐上;立柱竖直固定在底座表面;旋转台通过
悬臂吊生产厂家立柱悬臂吊 吊车 小型悬臂吊 手动移动式悬臂吊
钢结构车间用电动旋转悬臂吊图纸1t
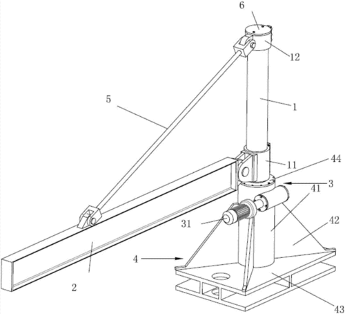
一种电动旋转吊臂,包括立柱机架(1)与立柱机架(1)连接的悬臂梁(2)
悬臂起重机柱式旋臂式起重机图纸厂房旋臂吊装配图
为你推荐
我又染头发了,素颜都好看的免漂烟熏青灰色 78152021流行款发色
微笑的男人,一个来自国外的都市传说
开往2021的火车即将启程,请将2020的悲伤,痛苦和郁闷拒之门外,新冠号
你好生活第二季探寻新疆草原之美感受生活中的烟火气
黄金眼镜 18k金牛角眼睛框无框 金色 商务近视眼镜架送礼眼镜1142
劳力士白金满天星星期日历
清康熙通宝老磨蛋型民俗文化留下的痕迹趣味品
第29届金曲奖陈奕迅三度加冕歌王,曾六提零中的她终获歌后