图知网
搜索
首页
热门推荐
图片分类
女装短裤(平角)(细横条)euniqlo优衣库初上市价格
下载原图
相关图片
uniqlo 优衣库 airism 409836 男士平角短裤
美国直邮优衣库的 gu 平角短裤 3p
优衣库短裤
内裤2条包邮优衣库男士平角短裤阿罗裤棉宽松内裤
日本本土代购uniqlo优衣库女款舒适内裤女式短裤女士裸感平角裤衩
优衣库 【theory联名款】男装 易打理快干弹力轻型休闲短裤447096
为你推荐
黄圣依夫妇为长子庆生安迪领女同学聚餐饭桌上害羞低头
高达简笔画 q版独角兽高达简笔画
威朗大灯效果怎么样_太平洋汽车网
北极三岛美丽风光
开了两年还在排队周口这家西北菜餐厅终于来五一路了开业还有5折优惠
专属你的姓氏头像3d立体大气商务签名微信头像有你喜欢的吗
从怀孕到现在都是这样的豆腐渣样白带,现在孕十周 6,感觉好烦啊,现在
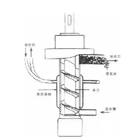
制冰机原理是什么,制冰机原理图