图知网
搜索
首页
热门推荐
图片分类
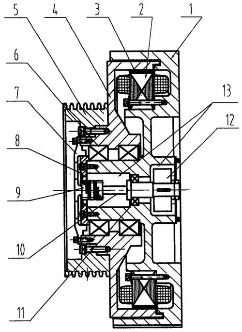
双绝缘节能无刷无齿轮同步曳引机
下载原图
相关图片
广东威得利电梯有限公司yj系列曳引机使用维
桥式结构电梯曳引机
一种制动系统高效响应曳引机的制作方法
通力电梯曳引机ppt
p>电梯曳引机是电梯的动力设备,又称电梯主机.
薄型永磁同步无齿轮曳引机-爱企查
为你推荐
落跑甜心 /a>》里的男主角,由 a target="_blank" href="/item/陈翔
桂林山水甲天下,漓江美景.奇峰,赤壁,碧水,大自然鬼斧神工; - 抖音
布丁狗拟人
云中的angel简谱乐谱
一百元人民币
上传时间:2020-01-05 12:00:00 脊椎动物图片
多乐士
携手游人间