图知网
搜索
首页
热门推荐
图片分类
卡通包装工人在流水线上工作五一劳动节劳动人民插画7939611矢量图片
下载原图
相关图片
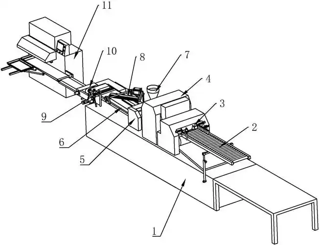
带捏切装置的面包生产线-爱企查
牛奶制作矢量生产线(2742x2300)epspng黑色线条简笔画牛油果矢量(1500
车间生产安全简笔画画工厂简笔画生产流水线简笔画关于工厂简笔画车间
输送机矢量线图标,标志,背景,可编辑的笔画的插图机器人控制机器人
速食粥米生产线
全自动ccd对位电路板双面印刷生产线
为你推荐
白毛美图
q版12星座
蓝眼睛有魅力的女人
街拍美女#纯欲天花板神仙颜值萌妹子美女小姐姐
古代行军打仗,遇到城池不能绕过去走吗?
美女头像_小红书
办公软件excel表格哪个好用新手入门excel表格制作
2019可爱呆萌qq女生动漫头像分享最新可爱呆萌qq女生动漫头像大全介绍