图知网
搜索
首页
热门推荐
图片分类
a3-快乐旅行
下载原图
相关图片
本子封面设计
文本封面-花瓣网|陪你做生活的设计师 | #文本封面##景观
公司宣传文档封面简约风格
作文本封面设计图片
文本封面设计_百度文库
平面 ю方案文本封面设计300个样式
为你推荐
应用化学研究所张海元领导的研究团队设计并合成了一种二氧化钛-金
闺密头像两人动漫【点击鼠标右键下载】
美吉姆加速度
少女前线 ump45
自私贪婪和自私的概念照片
青青柔蔓牵牛花
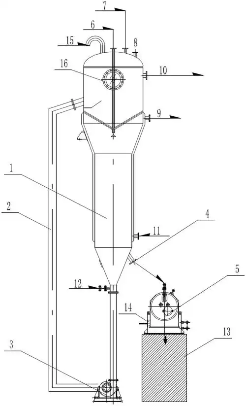
一种冷却结晶器