图知网
搜索
首页
热门推荐
图片分类
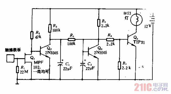
该触摸式电子开关电路由时基集成电路ic(ne555),晶闸管vt,整流二极管
下载原图
相关图片
触摸开关传感器原理图
555触摸感应开关制作,附电路图
触摸开关电路图
cn202004742u_一种触摸开关电路失效
ne555制作的触摸开关3例
一种新型单键轻触开关电路
为你推荐
可爱的猫咪简笔画教程画画
张真源运动小王子##张真源篮球合照
黄日莹古装角色美图混剪
马来西亚(西)手绘攻略,已收藏!
终于做出来了#美甲 #手工穿戴甲 #穿戴甲 #蓝色系 #蓝色美甲 #爆
传统龙白描
刚下板车的东风日产帅客,16615一手车, 26615上牌时间,2014年
吴大澂 篆书六言 对联 纸本作品欣赏