图知网
搜索
首页
热门推荐
图片分类
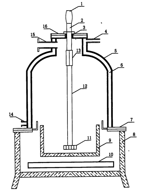
一种耐高温高压高真空的管式炉
下载原图
相关图片
博纳热工厂直销 1200度到1700度银/铜/镍基钎焊炉 真空钼箔钎焊炉
燃气真空热水锅炉结构及其原理
目前内热式真空热处理炉形式多样,按其外形及结构可分为立式,卧式,单
cn201421251y_立式搅拌真空炉失效
真空热水锅炉的结构见图(一),是由燃烧室(火炉),水管,负压蒸汽室,热
4吨真空热水锅炉价格及技术参数
为你推荐
【张艺兴匡威亚太代言】
受台风天鹅影响菲律宾首都马尼拉国际机场将关闭24小时
我们的蜜月之旅-青藏高原
这三跑楼梯计算一次投影面积吗?求老师解答一下-服务新干线答疑解惑
青枯病防治(青枯病病毒不好治常用药剂要学会)
成语填空
台北101
宝莲禅寺