图知网
搜索
首页
热门推荐
图片分类
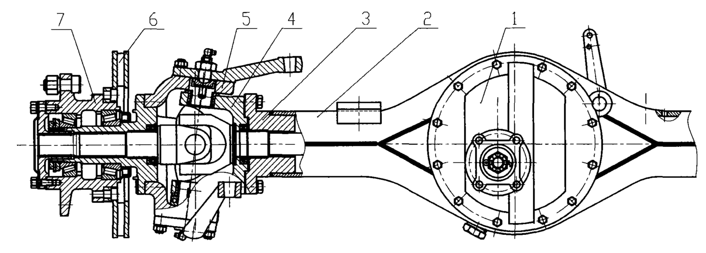
盘式制动方式的驱动前桥
下载原图
相关图片
cn101301843a_小型汽车驱动前桥失效
汽车前桥_重卡前桥_前桥总成_转向前桥价格/图片/配件-汽配人网-汽配
三菱猎豹---前桥.docx 51页
转向驱动前桥制动器与制动鼓总成
奥迪a4l轿车前桥部件分解
车桥培训讲义ppt
为你推荐
狮子村小学历届毕业生照片,满满的回忆
求一个照片,一个小学生转过脸的照片,圆圆的头,有点小胡子,,表情很
手工串珠图解教程:手链.#我的手工日常 #手工编织教程#手工 - 抖音
infinity studio 打造 1:1 比例李小龙《死亡游戏》半身像
iphone 动态照片 ● 香港
中国军衔制度,肩章(图片)
画师「miyu」作品欣赏:简约可爱,线条分明的萌系少女人物插画
香港tvb电视剧 财神驾到 粤语高清中字 黎耀祥 单立文 网盘