图知网
搜索
首页
热门推荐
图片分类
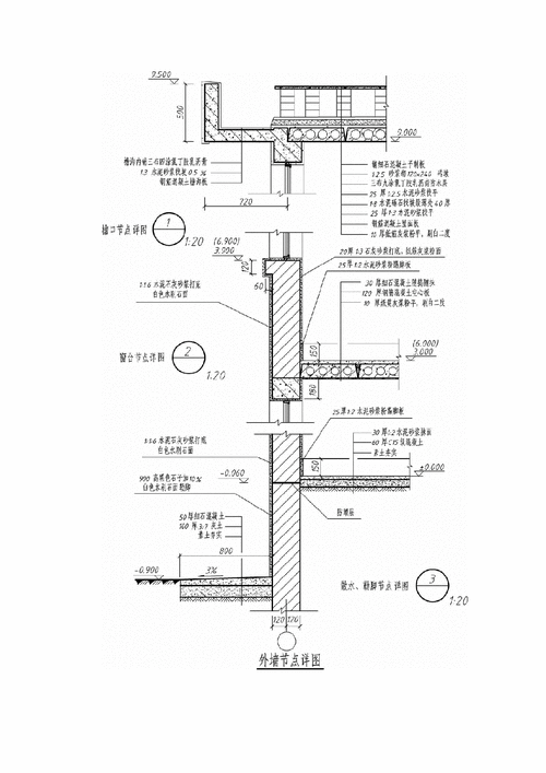
10套外墙外保温建筑构造设计施工详图
下载原图
相关图片
教你读懂外墙墙身详图!
外墙节点详图示例
干挂石材幕墙节点详图
某地外墙面铝塑板施工图构造详图全套
分享外墙大样构造资料下载
单元式幕墙与楼板构造剖面示意
为你推荐
性感猫咖美女高清电脑桌面壁纸
马克笔儿童画橘子熟了
大掌门太极拳经属性实用性分析
越南盾面值1000元外币百连号《本拍品一刀100连
狐姐姐
人教版八年级下册第十九章一次函数综合课件共60张ppt
ahka性感气质吊带抹胸连衣裙春夏新款高腰显瘦遮肚子小礼服a字裙珍珠
六一儿童节装饰气球套装 学校幼儿园 文艺演出舞台教室61氛围布置