图知网
搜索
首页
热门推荐
图片分类
滚筒筛分机
下载原图
相关图片
如图所示,一大筛机的原理图,试分析其自由度
一种惯性振动筛机构的制作方法与工艺
早点看到这些动态图,机械原理课程肯定满分
摇摆筛是为了满足大产量,高精度筛分需求而特殊设计的一种高效振动筛
1.简单惯性式圆振动筛
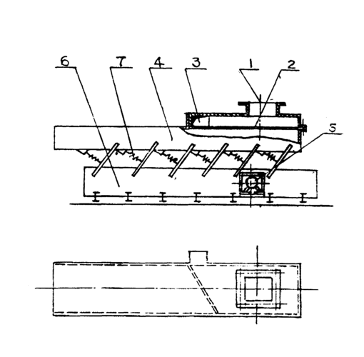
cn2122136u_惯性振动筛分输送机失效
为你推荐
女装-严浩翔:哥哥,你回来了-话本小说网
刘烨一家年代全家福,岁月静好的感觉.
怎么画三峡大坝 - 简笔画 - 懂得
唯美伤感毕业季非主流小清新手机壁纸
枉凝眉电视连续剧红楼梦主题歌正谱
78手写框架高中政治必修一第四课
壁纸 橙片,水果微距摄影
人以上所在地:亳州市 亳州谯城区南部新区康美华佗国际中药城e-6号楼