图知网
搜索
首页
热门推荐
图片分类
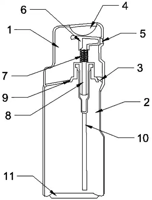
背负式手动喷雾器
下载原图
相关图片
一种安全型背负式手动静电喷雾器的制作方法
全塑手扣式喷雾器及装配方法
背景技术:目前,常见的手动式喷雾器为手扣式或揿压式结构,其通过手扣
手扣式喷雾器
如图是家用喷杀蚊蝇用的喷雾器示意图,它的工作原理是:推动活塞时,细
一种具有配药机构的手动农药喷雾器的制作方法
为你推荐
给小孩扎头发简单好看的发型(小男孩锅盖头改什么发型好看)(15)
甜瓜下面的叶子怎么回事
产品规格sj6000激光干涉仪以激光干涉技术为核心,分辨率可达纳米.
杰森在太空
最高人民法院关于审理劳动争议案件适用法律若干问题的解释
在美国常见服装面料中英文对照 再不怕洗毁衣服
qeelin麒麟珠宝七夕限量肖战同款
矢量龙头图片