图知网
搜索
首页
热门推荐
图片分类
空调水管路及风管道保温改造工艺
下载原图
相关图片
焊缝无损检测—射线检测—第1部分:x和伽玛射线的胶片技术
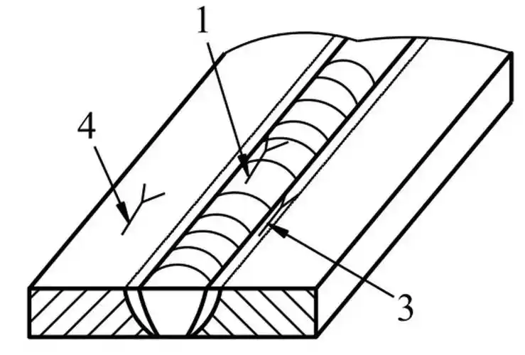
焊道和盖面焊道能够依次正确进行焊接,则可以获得具有足够熔透的焊缝
图1-18 横焊缝位置示意图4.
9 对口时纵,环向焊缝的位置应符合下列规定:1纵向焊缝应放在管道中心
白钢管道自动焊接,初级工作业 焊缝美观
群纹裂断间在焊缝收弧弧坑处的裂纹,可能是纵向的(5),横向的(6)和星形
为你推荐
世界滑雪冠军谷爱凌光脚拍摄杂志封面,身高175cm的她却有着一双42码的
劳动节儿童画我爱劳动主题画五一劳动节 五一劳动节儿童创意画 竖构图
现代抽象雕塑
济滨高铁全线首座百米连续梁顺利合龙
任正非女儿演讲谈华为人才观选择比天赋重要
婴儿期特应性皮炎的症状和图片 - 有来医生
儿童成长自律表奖励墙贴好习惯养成小学生家用时间管理打卡计划表-www
楷书《沁园春.雪》