图知网
搜索
首页
热门推荐
图片分类
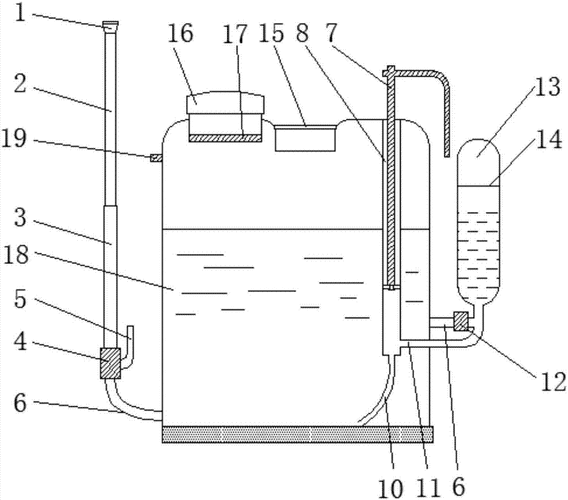
背景技术: 目前,市场上销售的微型喷雾器多为手动式且种类很多,根据
下载原图
相关图片
背负式手动喷雾器
全塑手扣式喷雾器及装配方法
美乐棵 1.5l压力喷壶 浇花喷水壶 喷雾器 园艺用品
蓝韵医用超声雾化器pn100
如图是家用喷杀蚊蝇用的喷雾器示意图,它的工作原理是:推动活塞时,细
背负式手动喷雾器
为你推荐
q版王源卡通小鲜肉行李箱旅行箱电脑滑板吉他防水车贴贴纸贴画
汽车货运车,汽车货车报价大全
裂缝纹理
张含韵和韩雪扮演五个角色(张含韵韩雪女巫茶话会)
炫酷黑白胶片胶片划痕_1920x1080_高清视频素材下载(编号:3293746)
明月(歌剧选曲100首) 歌谱简谱网
碧蓝航线优秀舰船介绍 碧蓝优秀舰娘攻略集合(13)_光辉_游侠手游
载入数据