图知网
搜索
首页
热门推荐
图片分类
简易水蒸气蒸馏装置图,水蒸气蒸馏装置图,水蒸气蒸馏装置示意图_大
下载原图
相关图片
图3-30 常量水蒸气蒸馏装置示例(3)1—安全管;2—水蒸气导入管;3—水
实验室蒸馏成套装置图
四,实验装置 水蒸气蒸馏装置
水蒸气发生装置用多少毫升蒸馏瓶_挂云帆
实验室蒸馏装置示意图,实验室水蒸气蒸馏装置-图片大观-奇异网
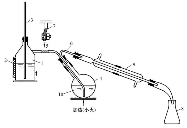
图3-28 常量水蒸气蒸馏装置示例(1)1—水蒸气发生器;2—液面计;3
为你推荐
杨恭如的一组纯情大片,圆领束腰公主裙,俏皮的齐肩长发,眼神无比清丽
【党团天地】学党史悟思想办实事开新局 ——贵阳市第二实验小学教师"
自制迷你小水泵家里面的废弃用品就可以制作简单实用
耶稣鱼符号
90%的车主接受议价哦!卖家报价¥2x.xx万我要砍价相似二手车换一批
按揭房有购房发票吗
上次发的我们河南的家常菜馍热门了,好多姐妹建议菜馍打鸡蛋更好 - 抖
2024夏季新款网红细跟凉鞋绒面一字扣鱼嘴高跟鞋防水台百搭女鞋