图知网
搜索
首页
热门推荐
图片分类
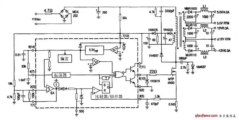
uc3844组成的60w开关电源电路图
下载原图
相关图片
uc3844应用电路图大全充电器电路开关电源电路反激式变换电路
uc3844应用电路
uc3844设计反激变换器,这样接外围电路对吗?
5v时,uc3845的整个电路仅消耗lma的电流,即uc3845的典型启动电压为8.
一文把30张电动车充电器电路图工作原理了解的明明白白
苹果开关电源充电器电路图
为你推荐
火影忍者中最独特的4种结印方式,卡卡西能在接吻中结印?
简约电脑背景壁纸(14/20)
简单好画的小鸟简笔画教程来啦
教你画侧脸丸子头
包头凉鞋女2021新款夏季仙女中跟粗跟镂空网纱一字带水钻软底女鞋
如果爱下去(五字歌谱)1
周年庆,开业大吉,乔迁之喜,活动庆典主题定制95 厦门定制蛋糕 网
扁平足矫正