图知网
搜索
首页
热门推荐
图片分类
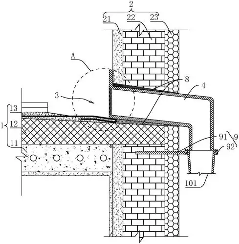
【檐口天沟大样图】女儿墙落水构造详图
下载原图
相关图片
女儿墙外水落口详图一
[分享]女儿墙排水天沟资料下载
女儿墙落水口节点
女儿墙外天沟结构,涉及天沟建筑结构的领域,包括顶板,墙体,沟体,排水
女儿墙防水节点详图
女儿墙排水口建筑构造
为你推荐
150和185最萌身高差是一种怎样的体验?[嘘]
表情包系列笑容逐渐猥琐 - 「逐渐变.
梦里梦外全是你】彩谱】 天堂飘雪 歌谱简谱网
实拍印尼女孩的割礼手术(组图)【5】
八层商品住宅及联排式别墅建筑效果图
跪求大能帮忙给这群社会主义国家设计组织.#图文来了 #波兰球 - 抖音
当冰雪奇缘碰到复联,艾莎女王cos三个角色,安娜变黑寡妇
遇见你很高兴